1
/
of
12
www.ChineseStandard.us -- Field Test Asia Pte. Ltd.
YY 0120-2002 English PDF
YY 0120-2002 English PDF
Regular price
$150.00
Regular price
Sale price
$150.00
Unit price
/
per
Shipping calculated at checkout.
Couldn't load pickup availability
YY 0120-2002: Implants for osteosynthesis--Metal correctional stick
Delivery: 9 seconds. Download (and Email) true-PDF + Invoice.Get Quotation: Click YY 0120-2002 (Self-service in 1-minute)
Newer / historical versions: YY 0120-2002
Preview True-PDF
Scope
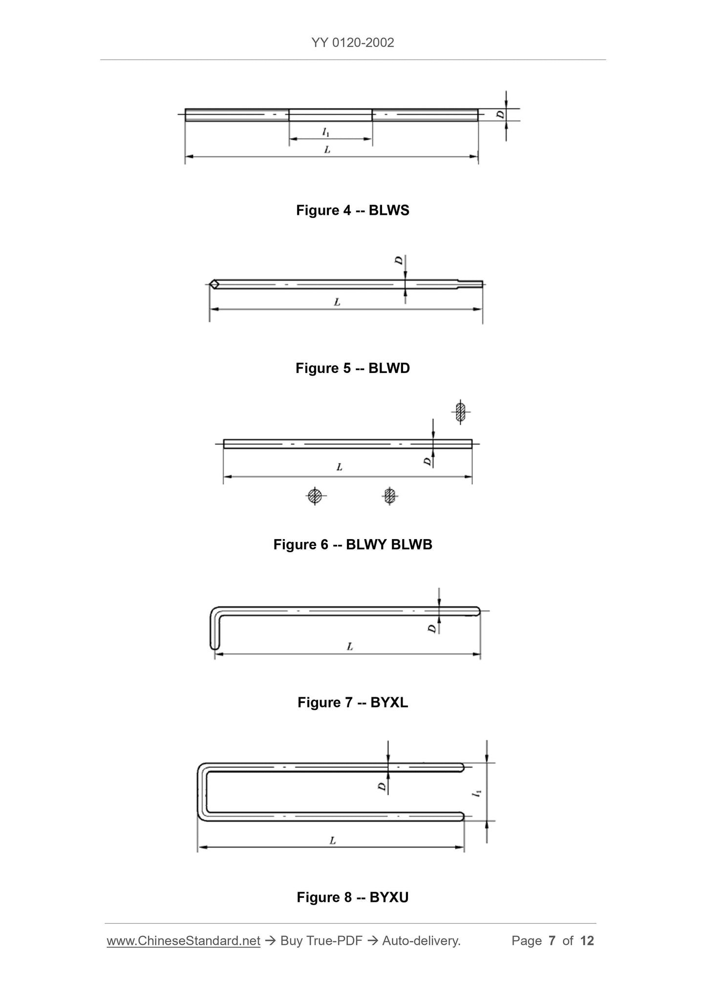
This Standard specifies classification, requirements, test methods, inspectionrules, instructions for use, marks, packaging, transportation and storage for
metal correctional stick [Translator note: Term “rod” is adopted in YY/T 0119.4-
2014].
This Standard is applicable to metal correctional stick (hereinafter referred to
as the correctional stick). This product is used for correction and internal fixation
when the spine bones are diseased or deformed.
Basic Data
Standard ID | YY 0120-2002 (YY0120-2002) |
Description (Translated English) | Implants for osteosynthesis--Metal correctional stick |
Sector / Industry | Medical Device and Pharmaceutical Industry Standard |
Classification of Chinese Standard | C35 |
Classification of International Standard | 11.040.40 |
Word Count Estimation | 10,132 |
Date of Issue | 2002-09-24 |
Date of Implementation | 2003-04-01 |
Older Standard (superseded by this standard) | YY 0120-1993 |
Quoted Standard | GB/T 228; GB/T 4234; GB/T 4340; GB/T 13810; YY/T 0343; YY 0341 |
Issuing agency(ies) | State Drug Administration |
Summary | This standard specifies the use of metal rods orthopedic classification, requirements, test methods, inspection rules, instructions, logos, packaging, transportation and storage requirements. This standard applies to metallic orthopedic rod (hereinafter referred to orthopedic rods), the product for bone disease or spinal deformity correction for internal fixation. |
Share











